「突发」阿里开放认购,带动银行借款利率上涨-阿里巴巴存款利息一天多少

在昨日腾讯三季报不及预期导致股价大跌的背景下,“救世主”阿里巴巴终于来了!

阿里11月15日(今日)开始申购,招股价188港元,每手一百股,最低认购门槛18989.4476港币。根据目前的招股价计算,阿里预计募集资金1000亿港元左右。

毫无疑问,阿里巴巴回港上市是2019年港交所的“集资王”,考虑到阿里巴巴最近公布的2020财年第二季度财报,其净利润达到725.4亿元,同比增长262%。移动月活跃用户达到7.85亿,比上一个季度末增加3000万。这样一个良好的基本面也会使得更多投资者选择打新阿里。

事实上,根据港媒报道,阿里巴巴在开放国际配售的第一天已经获得足额认购,可以想象到,市场对该股票的热度有多高。

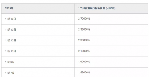
那么,这么高的募资量对应的自然就是港元的拆息成本上升,以汇丰银行的1个月香港银行同业拆息(HIBOR)利率为例,11月8日以前该利率一直稳定在1.7%-1.8%之间,而在最近几天,受到阿里上市的大量资金需求的影响,该利率不断上升,目前已经达到了2.7%。预计今天开始公开发售后,利率还将进一步提高。

考虑到资金来源成本上升,券商的融资利率也会有所提高。因此,选择一家快速便捷的平台打新迫在眉睫。股票牛从开户到申购,都是众多券商中最快的(小编亲测有效)。这个时候当真时间就是金钱,尽早认购不仅能降低打新成本还能提升一手中签率了。

除此之外,小编还从股票牛处获悉,对于阿里巴巴的公开发售,股票牛为用户提供了10倍融资,且现金认购免除50港币手续费,降低认购成本。不仅如此,股票牛还提供了申购抽奖活动。在股票牛申购阿里新股最高抽取10股阿里巴巴或888港币现金红包。

巨头仅存的上车机会,越早利率越低,成本越低,让你在双十一剁掉的手接回来!

打新具体操作是:在股票牛APP依次点击-【交易】-【新股认购】参与认购;也可以在【发现】-【新股认购】中参与认购。

影像测量仪器公司

ogp

ogp影像仪怎么样

相关推荐

版权声明:本文内容由互联网用户自发贡献,该文观点仅代表作者本人。本站仅提供信息存储空间服务,不拥有所有权,不承担相关法律责任。如发现本站有涉嫌抄袭侵权/违法违规的内容, 请发送邮件至举报,一经查实,本站将立刻删除。